找回密码
 立即注册
澳门威尼斯人
U8
U18
海燕招商
A
蓝盾
e世博
islot.
申博亚洲
B
开云
腾博会
德信
C级广告商
吉祥坊
华体会
查看: 25722|回复: 74

[彩票] 【实战有奖】威尼斯人台湾宾果连挂后稳收,亏损2450止步

[复制链接]

77

主题

1万

回帖

5985

金币

千足金牌会员

积分
63779

老会员交易勋章魅力达人

发表于 2025-10-6 16:17 | 显示全部楼层 |阅读模式

马上注册,结交更多好友,享用更多功能,让你轻松玩转社区。

您需要 登录 才可以下载或查看,没有账号?立即注册

×
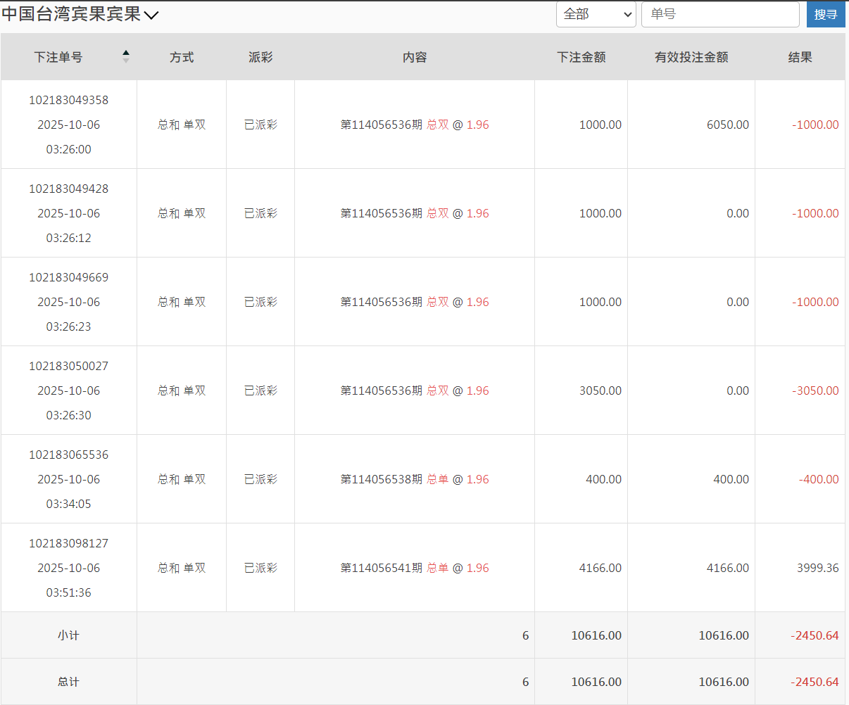
今天下午打了台湾宾果这一轮,整体过程挺曲折,但也算控制住了节奏。大概从下午三点左右开始进场,当时看走势总和“双”连开几期,手痒了,于是轻仓试单。原本打算随便玩玩,结果越看越不对劲,单双频繁切换,让人有点摸不清节奏。
/ J" S9 b* a9 V. m5 c  G9 V8 X9 G: O6 E# u$ G0 s
这轮总共下了六单,前几把基本都在试探走势。结果连续几期都反着来,尤其是那笔3050的“总双”,被直接吃掉,账面一口气红到三千多。那一瞬间心态确实有点晃,手差点又去补仓。后来想到之前吃亏的经验,强行让自己停手,看完那期结果就去洗了个脸。, J5 {# e/ a* I& `: {9 S- g9 R

3 J) z) g1 T% f. P回来后重新看走势图,发现节奏有点回稳,于是再上两把“总单”试水。最后一单我加到4166,打的第114056541期,终于中回来了3999.36,这口气算是稳了。整盘下来,亏了2450左右,折合人民币不到两千。  w) m; V* P8 s% Q3 M9 m
+ ]% O4 m& l0 L- s# A+ G
账面上虽然是负的,但我个人觉得这轮打得比前几次更“成熟”——不是赢多少的问题,而是我终于没再乱追。这次BBIN那边转入了10616,转出回大厅时剩8165,虽然账面亏损,但过程有节制、心态稳,算是一次小考合格。. i% G5 E5 F! B1 W* t0 G  c: Z& s
7 l- H) g% H5 K1 r1 j, c9 E2 O
过去我常常一看挂单就想加码“赢回来”,结果反而输更惨。现在我学会了一件事:赢钱靠机会,止损靠自律。只要不被情绪带走,长期来看反而能少损多赢。) \) v8 B% k( i' W

0 |# R! a5 g5 P4 @另外,这轮台湾宾果的走势挺诡异的,总和单双跳得快,没有出现连续7期以上的连号。下午那段时间尤其乱,建议后面玩这盘口的兄弟们注意节奏,不要被短线结果误导。可以像我这样——前几期用小注探路,等走势方向稳定后再加码。1 }- j: e- I/ x$ q/ t/ |# u9 n6 m

; a1 D1 }' X! X+ P# X2 S. y8 W这次我还特地看了下注明细,总金额10616,有效投注全打满,亏损-2450.64。虽然是红的,但我反而挺高兴,因为这说明我守住了底线:没追加、没爆仓。
6 G, ?# Z9 z* T- I& |' G  F* Y5 d- g( R: |! `6 _% Q
最后总结一句:
6 y  q3 ~( V9 b. l3 Z- v输钱不可怕,乱输才可怕;稳得住,才是真正的赢。
5 `, K: C* s+ l# _7 `
9 G/ c1 J/ B' I: f5 @  Z  J这两天论坛不少人也在分享台湾盘的节奏,我的经验是——宁可打慢,也不要乱节奏。未来几天我会继续观察走势,等连号或规律性区间出来,再考虑加仓。今天就到这,休息一会,晚上再看情况。
, {) Y$ e7 J2 c+ b+ h& F0 ~& X4 j$ V6 R% y4 i- x
QQ20251006-160203.png QQ20251006-160102.png 8 D: e4 J! D/ F- s

! x) a! T# ^% x
7 Q  \7 a3 }( @( ^  K& O: Y4 r
回复

使用道具 举报

1

主题

4994

回帖

4198

金币

金牌会员

积分
23389

老会员

发表于 2025-10-6 16:22 | 显示全部楼层
楼主亏损了还是要止损,回血了一大半还是挺不错了
回复 支持 反对

使用道具 举报

197

主题

6859

回帖

148

金币

银牌会员

积分
13995

老会员交易勋章

发表于 2025-10-6 17:56 | 显示全部楼层
你还玩这个啊,我是真没玩过这类彩票,是彩票没错吧,止损做到位就好
回复 支持 反对

使用道具 举报

7

主题

1万

回帖

6402

金币

千足金牌会员

积分
57886

光影行者

发表于 2025-10-6 19:37 | 显示全部楼层
3050那把真够呛,能忍住不补仓已经赢一半,节奏乱时洗脸是个好招
回复 支持 反对

使用道具 举报

3361

主题

4万

回帖

846

金币

钻石用户

积分
109770

万时之王老会员勤奋勋章交易勋章

发表于 2025-10-6 19:48 | 显示全部楼层
老哥还是低调点吧, 亏损2450, 也是输太多了, 还是要及时收手,真不敢继续了
回复 支持 反对

使用道具 举报

3361

主题

4万

回帖

846

金币

钻石用户

积分
109770

万时之王老会员勤奋勋章交易勋章

发表于 2025-10-6 19:49 | 显示全部楼层
蔬菜沙拉 发表于 2025-10-6 19:37
( G/ M& A/ I3 g* b7 W2 L3050那把真够呛,能忍住不补仓已经赢一半,节奏乱时洗脸是个好招

" \5 e+ x; d! `玩菠菜还是量力而行吧, 别玩太大了, 输太多了, 也是很影响心情了。
回复 支持 反对

使用道具 举报

3361

主题

4万

回帖

846

金币

钻石用户

积分
109770

万时之王老会员勤奋勋章交易勋章

发表于 2025-10-6 19:49 | 显示全部楼层
二电厂哥 发表于 2025-10-6 17:56! t) U& L3 i! i$ ^$ {: `9 u
你还玩这个啊,我是真没玩过这类彩票,是彩票没错吧,止损做到位就好

% x, H1 q& k2 c* S& Z6 n- w, k亏损了2450也是输太多了, 这钱能干很多事的了啊, 也是很遗憾了。
回复 支持 反对

使用道具 举报

3361

主题

4万

回帖

846

金币

钻石用户

积分
109770

万时之王老会员勤奋勋章交易勋章

发表于 2025-10-6 19:50 | 显示全部楼层
shunlifeiup 发表于 2025-10-6 16:22
$ W# t. C) ^) s( w7 g( ~楼主亏损了还是要止损,回血了一大半还是挺不错了
5 r; F. J! }7 s8 R: \+ j
损失惨重了呀, 输了这么多, 想回血都是很困难了啊, 还是休息冷静一下吧。
回复 支持 反对

使用道具 举报

336

主题

1533

回帖

4831

金币

银牌会员

积分
13642

老会员交易勋章

发表于 2025-10-6 21:07 | 显示全部楼层
能够及时做到止损啊 还是很不容易的   及时调整吧!
回复 支持 反对

使用道具 举报

50

主题

2万

回帖

5571

金币

千足金牌会员

积分
66540

老会员光影行者

发表于 2025-10-7 02:34 | 显示全部楼层
别急着追,理性把握,稳住节奏,总会有赚钱的时候,节制至关重要
回复 支持 反对

使用道具 举报

50

主题

2万

回帖

5571

金币

千足金牌会员

积分
66540

老会员光影行者

发表于 2025-10-7 02:34 | 显示全部楼层
蔬菜沙拉 发表于 2025-10-6 19:37
) p0 Y" @9 x/ Y* `$ W, y& [3050那把真够呛,能忍住不补仓已经赢一半,节奏乱时洗脸是个好招

: h9 ]6 r( A# k5 p. ?3050那把确实有点狼狈,不过威尼斯人台湾宾果稳住节奏,亏损2450也算是及时止损
回复 支持 反对

使用道具 举报

2292

主题

7万

回帖

6298

金币

海燕硕士

积分
213438

老会员超级精华精华勋章美女勋章勤奋勋章交易勋章万时之王

发表于 2025-10-7 05:46 | 显示全部楼层
输掉了2000多块能够止损离开也是比较理智的一个人吧
回复 支持 反对

使用道具 举报

2292

主题

7万

回帖

6298

金币

海燕硕士

积分
213438

老会员超级精华精华勋章美女勋章勤奋勋章交易勋章万时之王

发表于 2025-10-7 05:46 | 显示全部楼层
whywhy 发表于 2025-10-7 02:34" E" K3 P6 }: q$ L0 w/ D0 i
3050那把确实有点狼狈,不过威尼斯人台湾宾果稳住节奏,亏损2450也算是及时止损 ...
) V5 u, P2 b: ~( B+ w" Q
反正自己的节奏要把握好,不然输的就是自己的钱
回复 支持 反对

使用道具 举报

2292

主题

7万

回帖

6298

金币

海燕硕士

积分
213438

老会员超级精华精华勋章美女勋章勤奋勋章交易勋章万时之王

发表于 2025-10-7 05:46 | 显示全部楼层
whywhy 发表于 2025-10-7 02:34
! ?. g0 D. _: b$ Y9 R1 M别急着追,理性把握,稳住节奏,总会有赚钱的时候,节制至关重要

9 W9 k# p8 O& D# q, o这个节奏导致的亏损也是没有办法的事,毕竟输了这么多
回复 支持 反对

使用道具 举报

2292

主题

7万

回帖

6298

金币

海燕硕士

积分
213438

老会员超级精华精华勋章美女勋章勤奋勋章交易勋章万时之王

发表于 2025-10-7 05:46 | 显示全部楼层
莫扎特06 发表于 2025-10-6 19:49
6 X. z# m, n# i# n5 ^, ~# r, R亏损了2450也是输太多了, 这钱能干很多事的了啊, 也是很遗憾了。

* x, o& Y' u" i! G输的太多也是要想办法把它搞回来,不然也是难受
回复 支持 反对

使用道具 举报

您需要登录后才可以回帖 登录 | 立即注册

本版积分规则

广告合作|评测有奖|福利汇|论坛简介|钱包合集|手机版|小黑屋|Archiver|海燕论坛

快速回复 返回顶部 返回列表