找回密码
 立即注册
澳门威尼斯人
U8
U18
海燕招商
A
蓝盾
e世博
islot.
申博亚洲
B
开云
腾博会
德信
C级广告商
吉祥坊
华体会
查看: 190340|回复: 47

[彩票] 【实战有奖】USDT casino下注新加坡六合彩

[复制链接]

197

主题

6859

回帖

148

金币

银牌会员

积分
13995

老会员交易勋章

发表于 2024-6-22 19:03 | 显示全部楼层 |阅读模式

马上注册,结交更多好友,享用更多功能,让你轻松玩转社区。

您需要 登录 才可以下载或查看,没有账号?立即注册

×
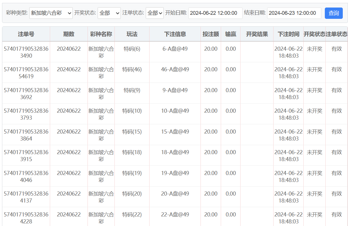
今天登录USDT CASINO准备下注体育赛事的,看到一笔彩金可以领取的一共1288USDT.想象完全是可以去试试新加坡六合彩的投注,这款彩票的赔率真是非常高的,特码直接给49倍数满倍,一共下注20注合计400USDT,希望晚上可以顺利中奖成功的。- X0 u  f8 X' t4 u- A: b
# V0 x5 q# N# B, x  R
% w0 ~4 v# a1 h3 [) p! a9 s. I
4.png 1.png 3.png 3.png
% m& d7 f7 x2 x5 S! {
回复

使用道具 举报

头像被屏蔽

102

主题

9137

回帖

2659

金币

禁止发言

积分
23011

老会员美女勋章

发表于 2024-6-22 19:16 | 显示全部楼层
提示: 作者被禁止或删除 内容自动屏蔽
回复 支持 反对

使用道具 举报

1211

主题

3万

回帖

668

金币

铂金用户

积分
90900

老会员交易勋章光影行者

发表于 2024-6-22 19:30 | 显示全部楼层
才下注20个数字,概率还是不到五十的啊,希望你可以顺利收米了啊
回复 支持 反对

使用道具 举报

1211

主题

3万

回帖

668

金币

铂金用户

积分
90900

老会员交易勋章光影行者

发表于 2024-6-22 19:30 | 显示全部楼层
尔不耳不斤 发表于 2024-6-22 19:16: E/ R5 o9 z! W2 H2 a
新加坡六合彩能中个大奖看楼主运气了,这投的可是不小啊

3 X: Q" _5 R: [) L# U" a下注多了风险也就大嘞,希望楼主的实力足够强了啊
回复 支持 反对

使用道具 举报

197

主题

6859

回帖

148

金币

银牌会员

积分
13995

老会员交易勋章

 楼主| 发表于 2024-6-22 19:49 | 显示全部楼层
尔不耳不斤 发表于 2024-6-22 19:16( ?, B( {* S' W0 Z- Z; ^
新加坡六合彩能中个大奖看楼主运气了,这投的可是不小啊
. G* H) j4 d+ w# E
谢谢燕友们的祝福,要是中奖的话,晚上的宵夜肯定很丰富,美滋滋
回复 支持 反对

使用道具 举报

197

主题

6859

回帖

148

金币

银牌会员

积分
13995

老会员交易勋章

 楼主| 发表于 2024-6-22 19:50 | 显示全部楼层
猴哥打野 发表于 2024-6-22 19:301 N3 ?3 P- c/ S+ X
才下注20个数字,概率还是不到五十的啊,希望你可以顺利收米了啊
6 w7 m6 D/ a# m5 m2 g
这个数量已经很多的了,中奖的话可以盈利580USDT
回复 支持 反对

使用道具 举报

3371

主题

4万

回帖

1852

金币

钻石用户

积分
111972

万时之王老会员勤奋勋章交易勋章

发表于 2024-6-22 19:58 | 显示全部楼层
老哥有魄力呀, 这一下就投注了400U,这可不是个小数了, 那就祝你顺利中奖吧。
回复 支持 反对

使用道具 举报

3371

主题

4万

回帖

1852

金币

钻石用户

积分
111972

万时之王老会员勤奋勋章交易勋章

发表于 2024-6-22 19:59 | 显示全部楼层
尔不耳不斤 发表于 2024-6-22 19:165 J  c% b$ u/ F; K. m: q
新加坡六合彩能中个大奖看楼主运气了,这投的可是不小啊

  g4 Y) f# U8 d% n9 {) ^) {六合彩我也是不会玩的, 我只玩体育比赛, 彩票的话只玩体彩,大乐透, 福彩3D,双色球。
回复 支持 反对

使用道具 举报

0

主题

9811

回帖

4709

金币

金牌会员

积分
30939

老会员

发表于 2024-6-22 20:57 | 显示全部楼层
这个好像都是不那么简单的,希望楼主以后都能有个好的结果了。
回复 支持 反对

使用道具 举报

2563

主题

5万

回帖

6951

金币

钻石用户

积分
174305

万时之王老会员精华勋章勤奋勋章交易勋章

发表于 2024-6-23 01:11 来自手机 | 显示全部楼层
楼主有1288U的彩金,真是太厉害了,看来楼主也是个大户玩家,彩金都这么高
回复 支持 反对

使用道具 举报

2563

主题

5万

回帖

6951

金币

钻石用户

积分
174305

万时之王老会员精华勋章勤奋勋章交易勋章

发表于 2024-6-23 01:13 来自手机 | 显示全部楼层
莫扎特06 发表于 2024-6-22 19:58' E9 q+ F; `1 I) x# P! F, u8 S1 t
老哥有魄力呀, 这一下就投注了400U,这可不是个小数了, 那就祝你顺利中奖吧。 ...

  z. a# b# R3 a; ?楼主也玩新加坡六合彩,不错啊,今晚特码开了兔14,不知楼主中奖没有?我今晚下注六肖中了
回复 支持 反对

使用道具 举报

2563

主题

5万

回帖

6951

金币

钻石用户

积分
174305

万时之王老会员精华勋章勤奋勋章交易勋章

发表于 2024-6-23 01:15 来自手机 | 显示全部楼层
尔不耳不斤 发表于 2024-6-22 19:16
4 @; \7 g% }. W0 W+ o新加坡六合彩能中个大奖看楼主运气了,这投的可是不小啊

( ~8 c" g5 C5 E! }$ W9 \; u看楼主下注不小,应该是很有把握的了,六合彩靠经验和运气
回复 支持 反对

使用道具 举报

1492

主题

7万

回帖

1万

金币

海燕硕士

积分
238817

万时之王老会员精华勋章勤奋勋章交易勋章光影行者

发表于 2024-6-23 07:05 | 显示全部楼层
希望楼主的六合彩是可以中奖的吧,毕竟我们都是想要战胜庄家的呢
回复 支持 反对

使用道具 举报

1492

主题

7万

回帖

1万

金币

海燕硕士

积分
238817

万时之王老会员精华勋章勤奋勋章交易勋章光影行者

发表于 2024-6-23 07:05 | 显示全部楼层
浴火凤凰 发表于 2024-6-23 01:15
  `- y  Z4 Q1 E5 I1 L看楼主下注不小,应该是很有把握的了,六合彩靠经验和运气

! F! W* y' }4 N# i0 x' P0 G$ k! N只要有信心了相信是可以中奖的,感觉楼主的运气非常不错的呢
回复 支持 反对

使用道具 举报

2313

主题

7万

回帖

6584

金币

海燕硕士

积分
215839

老会员超级精华精华勋章美女勋章勤奋勋章交易勋章万时之王

发表于 2024-6-23 07:13 | 显示全部楼层
每天下注的话也是希望中奖的呀,这个游戏我是不玩,因为玩不明白
回复 支持 反对

使用道具 举报

您需要登录后才可以回帖 登录 | 立即注册

本版积分规则

广告合作|评测有奖|福利汇|论坛简介|钱包合集|手机版|小黑屋|Archiver|海燕论坛

快速回复 返回顶部 返回列表